| TIN LIÊN QUAN | |
| Ông Trump tiếp tục sử dụng trực thăng cá nhân? | |
| Sắp được phép dùng điện thoại di động trên máy bay | |
Tờ New York Times vừa giới thiệu loại ô tô bay cá nhân được phát triển bởi Kitty Hawk, một công ty khởi nghiệp được nhà tỷ phú của hãng Google là ông Larry Page tài trợ. Loại ô tô bay này trông giống phiên bản phóng to của loại máy bay điều khiển từ xa mà mọi người thường mua về chơi trong những năm gần đây.
Dưới bụng chiếc xe bay này có phao giúp nó nổi trên mặt nước giống như thủy phi cơ. Trong một cuộc trình diễn thử nghiệm, người ta sử dụng ô tô bay này như là một loại thiết bị lướt ván công nghệ cao, có thể bay trên mặt nước khoảng từ 3-5m.
![]() |
| Xe ô tô bay sẽ giúp con người di chuyển linh hoạt trong tương lai không xa. (Nguồn: pinterest.com) |
Tùy theo mức giá và tính năng, sản phẩm “xe bay” này của Kitty Hawk có thể trở thành tâm điểm trên thị trường kinh doanh phương tiện đi lại cá nhân. Nhưng khi sản phẩm này ngày càng trở nên phổ biến thì sự tác động của nó sẽ không hề nhỏ. Theo hãng tin Bloomberg, Kitty Hawk có một chi nhánh là công ty Zee Aero đã nghiên cứu và phát triển các loại “xe bay” lớn hơn phục vụ cho nhu cầu di chuyển tức thời trong thành phố. Nhiều doanh nghiệp khác cũng đang hướng tới mục tiêu này.
"Ô tô trực thăng"
Hiện nay, các công ty công nghệ tại Thung lũng Silicon (Mỹ) cũng đang hướng tới phục vụ ngành hàng không.
Máy bay truyền thống cất cánh theo chiều ngang do nó cần đạt tới tốc độ cần thiết để có thể lên khỏi mặt đất. Điều đó có nghĩa là máy bay phải chạy một quãng đường dài khi cất và hạ cánh. Điều này đòi hỏi phải có sân bay lớn, với những đường băng dài, việc quy hoạch và xây dựng sân bay rất tốn kém.
Ý tưởng hiện nay của các nhà phát minh là chế tạo ra loại máy bay có thể cất cánh và hạ cánh theo chiều thẳng đứng (Vertical takeoff and landing - VTOL), giống như máy bay trực thăng, sau đó khi đạt đủ độ cao, nó sẽ chuyển sang bay theo chiều ngang. Máy bay này có thể lên xuống gần như bất kỳ nơi đâu, rất phù hợp với không gian đô thị vốn đông đúc, chật hẹp.
![]() |
| Máy bay điện nhỏ gọn có thể cất - hạ cánh trên nóc các tòa nhà dễ dàng. (Nguồn: Vox) |
Máy bay VTOL thật ra không phải là ý tưởng quá mới mẻ - từ năm 1960 đã xuất hiện các máy bay Harrier và V-22 Osprey vận hành theo cách tương tự, nhưng khi đó bị coi là phi thực tế do thiết kế phức tạp, đắt đỏ do sử dụng động cơ xăng, lại đòi hỏi phải có phi công chuyên biệt mới có thể điều khiển được.
Nhưng hiện nay, việc động cơ xăng được thay bằng động cơ điện đã làm thay đổi đáng kể quan niệm này. Động cơ điện nhẹ hơn, đơn giản hơn và rẻ hơn rất nhiều so với các động cơ máy bay truyền thống chạy bằng xăng, từ đó mở ra rất nhiều cơ hội cho các nhà thiết kế máy bay.
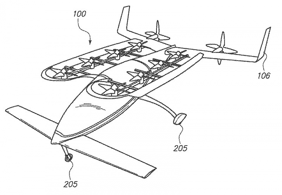
Để hình dung được loại máy bay nhỏ chạy điện trong tương lai sẽ như thế nào, chúng ta cùng xem hình ảnh dưới đây, thiết kế này hiện đã được công ty Zee Aero đăng ký bằng sáng chế. Đây là loại máy bay cá nhân nhỏ gọn, chỉ chiếm một diện tích để cất và hạ cánh không lớn hơn nhiều lắm so với diện tích cần có để đỗ xe ô tô.
![]() |
| Bản vẽ thiết kế máy bay điện của công ty Zee Aero. (Nguồn: Vox) |
Du lịch trên không
Máy bay điện nhỏ gọn có thể góp phần hình thành ngành du lịch trên không. Sử dụng động cơ điện thay cho động cơ truyền thống lắp trong các máy bay hiện nay sẽ mang lại lợi ích rất lớn, như giảm chi phí di chuyển bằng đường hàng không, giảm lượng phát thải khí CO2 trong mỗi chuyến bay. Nhưng cơ hội không thể bỏ qua ở đây là hiện thực hóa nhu cầu di chuyển trên không trong bối cảnh mà chưa từng có ai nghĩ rằng máy bay cá nhân sẽ phổ biến như ô tô vậy.
Hồi tháng 10, hãng Uber đã xuất bản sách trắng ghi rõ mục tiêu phát triển một loại máy bay VTOL cỡ nhỏ để đón trả hành khách trong các thành phố lớn nhằm khắc phục vấn nạn tắc đường trong các giờ cao điểm. Thí dụ, thay vì mất 1 giờ để lái xe từ thành phố San Jose (bang California) tới San Francisco — hoặc gần 2 giờ trong giờ cao điểm, VTOL sẽ chỉ cần 15 phút là hoàn thành chặng đường.
Với tầm nhìn và sự đầu tư mạnh mẽ của nhiều doanh nghiệp, không chỉ Uber, hy vọng chỉ một hoặc hai thập kỷ nữa thôi, con người sẽ di chuyển trong các đô thị đông đúc bằng máy bay cá nhân thay vì ô tô như hiện tại
| Phi công sống sót thần kỳ sau 11 vụ tai nạn máy bay Một phi công về hưu người Brazil nhận mình là “phi công may mắn nhất thế giới” khi sống sót sau khi gặp phải 11 ... |
| Hàng không Mỹ cấm mặc quần legging Hôm 26/3, hai thiếu nữ mặc quần legging đã bị hãng hàng không United Airlines (Mỹ) cấm lên máy bay do trang phục không đúng ... |
| Ngỡ ngàng mẫu máy bay chở khách có hình dạng UFO Công ty Jet Capsule (Italy) vừa thiết kế một mẫu máy bay có hình dáng giống vật thể bay không xác định (UFO) với hai ... |
| Máy bay chậm khởi hành vì bầy ong không mời mà đến Một chuyến bay từ sân bay quốc tế Miami ở bang Florida đã bị hoãn sau khi người ta phát hiện một bầy ong đang ... |


