| Một bằng sáng chế mới cấp cho một công ty công nghệ tăng cường thực tại ảo (AR) hé lộ, Apple đang ấp ủ việc cho ra đời một mẫu kính thông minh chỉ cần huơ ngón tay trước các mắt kính để điều khiển. | ||||||||||
Tổng Giám đốc điều hành (CEO) Apple Tim Cook không giấu giếm chuyện ông là một "fan bự" của công nghệ AR. Tỉ phú công nghệ này đã nhiều lần đề cập đến khả năng AR biến đổi cuộc sống của con người như cách smartphone từng làm được trước đây. Kể từ tháng 3 năm nay, trong dư luận xuất hiện các đồn thổi rằng, Apple đang lên kế hoạch "đưa công nghệ AR tiếp cận số đông công chúng" thông qua những ứng dụng iPhone và các loại kính thông minh giá cả phải chăng. Có bằng chứng cho thấy Táo khuyết thực sự chú trọng đầu tư nghiêm túc cho công nghệ này.
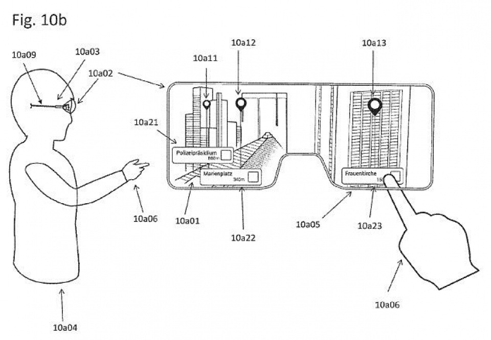
Đó là một bằng sáng chế, trong đó có đoạn mô tả về cách ứng dụng AR cho điện thoại và kính thông minh như sau: "Công nghệ này đặc biệt hữu dụng khi sử dụng một thiết bị hiển thị đeo trên đầu (HMD), cấu tạo gồm camera và màn hình... Thiết bị này có thể không đòi hỏi người dùng chạm tay vào màn hình điều khiển giống như với màn hình cảm ứng. Thay vào đó, camera chuyên dùng để chụp lại hình ảnh môi trường thực cũng có thể được dùng để phát hiện các vị trí của ngón tay người dùng trong ảnh. Vị trí của ngón tay người dùng có thể tương đương với các điểm chạm trên màn hình cảm ứng... để điều khiển". Hồ sơ xin cấp bằng sáng chế nói trên đã được đệ trình lên nhà chức trách Mỹ từ tháng Tư vừa qua, nhưng chỉ vừa được phê chuẩn cuối tuần qua.
Đây là sáng chế của công ty phát triển phần mềm AR Metaio. Apple đã thâu tóm Metaio từ tháng 5/2015 sau khi công ty này phát triển công nghệ Thermal Touch, một cách kích hoạt các tác vụ trong nội dung số thông qua mức nhiệt độ của ngón tay người dùng. Nhiều bằng sáng chế khác của Metaio sau đó cũng thuộc về Apple và công ty được tin là tác giả của ARKit, nền tảng phát triển để xây dựng ứng dụng thực tế ảo bổ trợ cho iPhone và iPad. Hồi tháng 2 vừa qua, hãng thông tấn Bloomberg từng đăng tải một báo cáo ám chỉ Apple đang âm thầm theo đuổi dự án phát triển một mẫu kính thông minh như phụ kiện đi kèm iPhone. "Mặc dù vẫn còn trong giai đoạn nghiên cứu, nhưng thiết bị sẽ kết nối không dây với iPhone, biểu thị các hình ảnh và thông tin khác trong trường quan sát của người đeo kính và có thể sử dụng công nghệ AR", trích báo cáo của Bloomberg. | ||||||||||
Kính thông minh Apple chỉ cần huơ ngón tay điều khiển?
Một bằng sáng chế mới cấp cho một công ty công nghệ tăng cường thực tại ảo (AR) hé lộ, Apple đang ấp ủ việc cho ra đời một mẫu kính thông minh chỉ cần huơ ngón tay trước các mắt kính để điều khiển.
Xem nhiều
Elections of 16th National Assembly and People’s Councils: Political stability as the foundation of international trust
172 cases of child abuse and endangerment on the internet detected and addressed in Ho Chi Minh City
Đọc thêm
Đàm phán hạt nhân Mỹ-Iran: Phó Tổng thống JD Vance khẳng định 'ưu tiên phương án ngoại giao', hé lộ khả năng về một cuộc xung đột
Phó Tổng thống JD Vance cho biết, chính quyền Mỹ vẫn ưu tiên giải quyết vấn đề chương trình hạt nhân của Iran bằng biện pháp hòa bình.
Toàn văn phát biểu của Tổng Bí thư Tô Lâm nhân dịp kỷ niệm 71 năm Ngày Thầy thuốc Việt Nam
Trân trọng giới thiệu toàn văn bài phát biểu của Tổng Bí thư Tô Lâm nhân dịp kỷ niệm 71 năm Ngày Thầy thuốc Việt Nam (27/2/1955 - 27/2/2026).
Dự báo thời tiết ngày mai (28/2): Bắc Bộ sáng sớm lạnh, trưa chiều giảm mây trời nắng; phía Nam có mưa rào
Thông tin dự báo thời tiết các khu vực ngày mai (28/2) từ Trung tâm Dự báo khí tượng thuỷ văn quốc gia.
Công tác nhân quyền 2025: Chuyển mình để bứt phá
Thế giới năm 2025 chứng kiến những biến chuyển sâu sắc chưa từng có, ảnh hưởng trực tiếp đến an ninh, sinh kế và việc thụ hưởng các quyền con ...
Bộ ảnh Tết 'đẹp nên thơ' của Hoa hậu Hà Kiều Anh
Hoa hậu Hà Kiều Anh vẫn giữ được vẻ đẹp trẻ trung, thu hút sự chú ý của công chúng qua bộ ảnh Tết mới nhất.
Để Việt Nam trở thành điểm kết nối dòng vốn khu vực và toàn cầu
Hội thảo "Định hình tương lai: Thuế, Hoạch định gia sản và AI" đã phân tích sâu sắc về triển vọng, cấu trúc phát triển và các thách thức của ...
Cơ hội vàng với bà Takaichi Sanae
Quyết định giải tán Hạ viện được cho là bước đi được tính toán kỹ lưỡng của nữ Thủ tướng Nhật Bản nhằm thiết lập ưu thế vững chắc trên chính trường xứ sở mặt ...
Bước tiến mới trong quan hệ Hàn Quốc-Nhật Bản
Chuyến thăm Nhật Bản của Tổng thống Hàn Quốc Lee Jae Myung và gặp gỡ với Thủ tướng nước chủ nhà Sanae Takaichi đã mở ra giai đoạn mới trong quan hệ giữa Seoul và ...
Bước ngoặt trong quan hệ EU-Jordan
Là cuộc gặp đầu tiên ở cấp cao nhất, Hội nghị thượng đỉnh Liên minh châu Âu (EU) - Jordan tại Amman vào 8/1 được mô tả là bước ngoặt trong quan hệ giữa hai ...
Iran trước ngã rẽ bất ổn
Làn sóng biểu tình lan rộng đang đẩy Iran vào một thời điểm đặc biệt nhạy cảm để giải bài toán cân bằng sức ép trong -ngoài...
Những thông điệp chiến lược từ Điện Kremlin
Thông điệp Tổng thống Vladimir Putin chuyển tải trong cuộc gặp gỡ cuối năm cho thấy cách Moscow đánh giá cục diện toàn cầu và hàm ý chính sách của Moscow.
Tiêu điểm nỗ lực tạo dựng niềm tin
Diễn đàn quốc tế về hòa bình và niềm tin, diễn ra tại thủ đô ở Ashgabat của Turkmenistan vào ngày 12/12 kỳ vọng góp phần thúc đẩy hòa bình và phát triển.
Chi tiêu dịp Tết Nguyên đán của Trung Quốc phản ánh điều gì về sức khoẻ của nền kinh tế?
Chi tiêu dịp Tết Nguyên đán của Trung Quốc phản ánh điều gì về sức khoẻ của nền kinh tế lớn thứ hai thế giới?
Tiết lộ sức khoẻ của nền kinh tế Mỹ sau một năm Tổng thống Trump nắm quyền
Sau một năm cầm quyền của Tổng thống Trump, sức khoẻ của nền kinh tế Mỹ ra sao?
Afghanistan: Gốc rễ của sự chia rẽ và khoảng trống quyền lực
Khi nhắc về Afghanistan, người ta thường nghĩ ngay đến lực lượng cầm quyền Taliban, những mùa bầu cử biến động hay những sự can thiệp từ cường quốc bên ngoài.
Vì sao hợp tác công nghiệp quốc phòng Mỹ-EU lúc này trở nên sống còn hơn bao giờ hết?
Việc hạn chế doanh nghiệp quốc phòng Mỹ tham gia các chương trình mua sắm của châu Âu làm suy yếu an ninh chung xuyên Đại Tây Dương.
Korea Herald: Hàn Quốc cần làm điều này để cạnh tranh với Trung Quốc trong lĩnh vực công nghệ sinh học
Hàn Quốc đang thúc đẩy nới lỏng quy định niêm yết, triển khai tín dụng R&D bằng tiền mặt và cải tổ hệ sinh thái đầu tư mạo hiểm trong mảng công nghệ sinh học.
Thấy gì từ việc cạnh tranh khoáng sản chiến lược trở thành đòn bẩy cho chính sách công nghiệp nội địa?
Các nền kinh tế chuyển từ mô hình toàn cầu hóa dựa trên chi phí thấp sang chính sách công nghiệp nhà nước hỗ trợ nhằm bảo đảm nguồn cung khoáng sản thiết yếu.

